Diagram Database

Posted by on 2020-12-30

Wiring Diagram Honda Insight

KOMPETENCJECYFROWE.VILOGDANSK.EU

Wiring Diagram Honda Insight

  • Honda Insight
  • Date : December 30, 2020
  • Downloaded : 6608 times

Wiring Diagram Honda Insight Whats New

Diagram

Downloads Wiring Diagram Honda Insight diagram diagram definition diagramming sentences diagram of heart diagram of the eye diagram of vagina diagrams.net diagrams online diagram of an atom diagram maker diagrama diagram designer diagram of ear diagram of human organs diagram of a microscope diagram of digestive system diagram of a volcano diagram of photosynthesis cycle diagram of a cell diagram of knee anatomy diagram of organs in body diagram of the brain 2010 honda insight wiring diagram 2000 honda insight wiring diagram

  • Honda Insight 2012 - 2014 - Fuse Box Diagram

  • Stereo Wiring Help

  • Honda Insight 2006 Wiring Diagram

  • Ac Repair Diagram 2006 Honda Insight

  • Fuse Box Location And Diagrams Honda Insight 2010

  • Honda Insight 2011

  • I Need The Schematic For The 2001 Honda Insight Fuse Box

  • Electricity

  • 35 Honda Insight Parts Diagram

  • Fuse Box Diagram Honda Insight 2010

  • I Need The Schematic For The 2001 Honda Insight Fuse Box

  • Honda Insight 2000 - 2006 - Fuse Box Diagram

  • Honda Insight 2010

  • 2000 Honda Insight Serpentine Belt Routing And Timing Belt

  • I Need The Schematic For The 2001 Honda Insight Fuse Box

  • 35 Honda Insight Parts Diagram

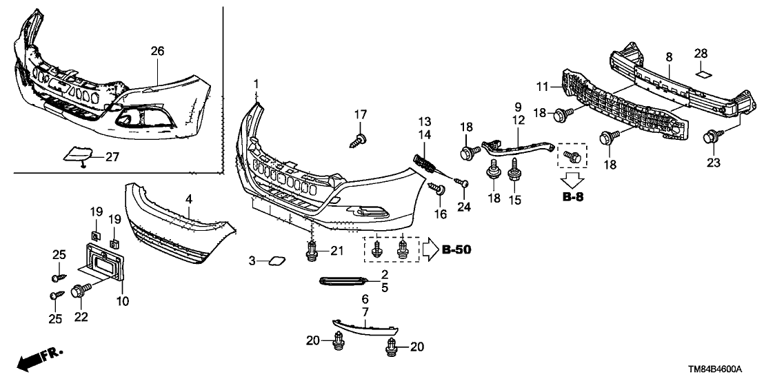
  • Honda Insight Face Front Bumper Dot

  • Honda Insight 2006 Wiring Diagram

  • Honda Insight 2006 Wiring Diagram

  • 2010 Honda Insight 5 Door Ex Navigation Kl Cvt Cylinder

  • 33150-tm8-a51

  • Honda Insight 2002 U2013 Fuse Box Diagram U2013 Circuit Wiring

  • 90657-sa5-003

  • 36163-txm-a04

  • I Need The Schematic For The 2001 Honda Insight Fuse Box

  • Honda Insight Fuse Box Diagram

  • Molding

  • Honda Insight 2010

  • 71170-tm8-a00

  • 2010 Honda Insight Electrical Troubleshooting Manual Original

  • Honda Insight - Service Manual Repair Manual

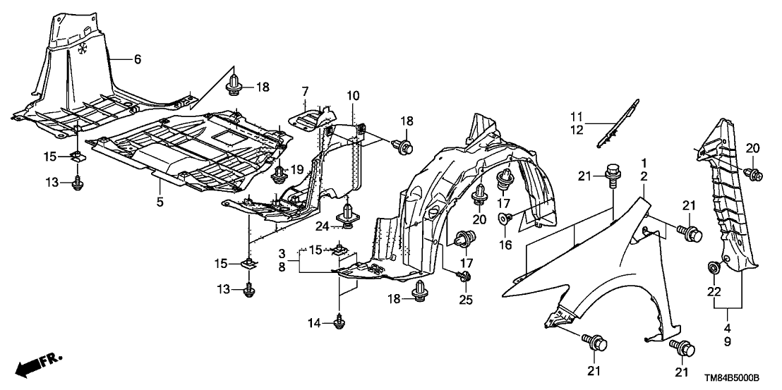
  • Honda Insight Parts Diagram

  • 2012 Honda Insight Hatchback Electrical Wiring Diagram

  • 1999 Honda Accord Aftermarket Parts User Manual

  • Honda Insight 2011

  • 04711-txm-a90zz

  • 91514-tm8-003

  • Honda Insight Fuse Box Diagram

  • 35 Honda Insight Parts Diagram

  • Honda Insight 2000 - 2006 - Fuse Box Diagram

  • Insight 2 Information

  • Stereo Wiring Help

  • Honda Insight 2010

  • Interior Fuse Panel

  • 2010 Honda Insight Service Manual U0026 Electrical

  • 2010 Mini Cooper Fuse Box Diagram

  • Fuse Box Diagram Honda Insight 2010

  • 35 Honda Insight Parts Diagram

  • 2000 Honda Insight Electrical Wiring Diagram Manual

  • Fuse Box Diagram Honda Insight 2019

  • Honda Insight 2010-2014 Fuse Box Diagrams

  • 35 Honda Insight Parts Diagram

  • Fuse Box Diagram U0026gt Honda Insight 2000

  • Honda U2013 Page 2 U2013 Circuit Wiring Diagrams

Copyright © 2020 - KOMPETENCJECYFROWE.VILOGDANSK.EU


1937 Comments