Diagram Database

Posted by on 2020-12-30

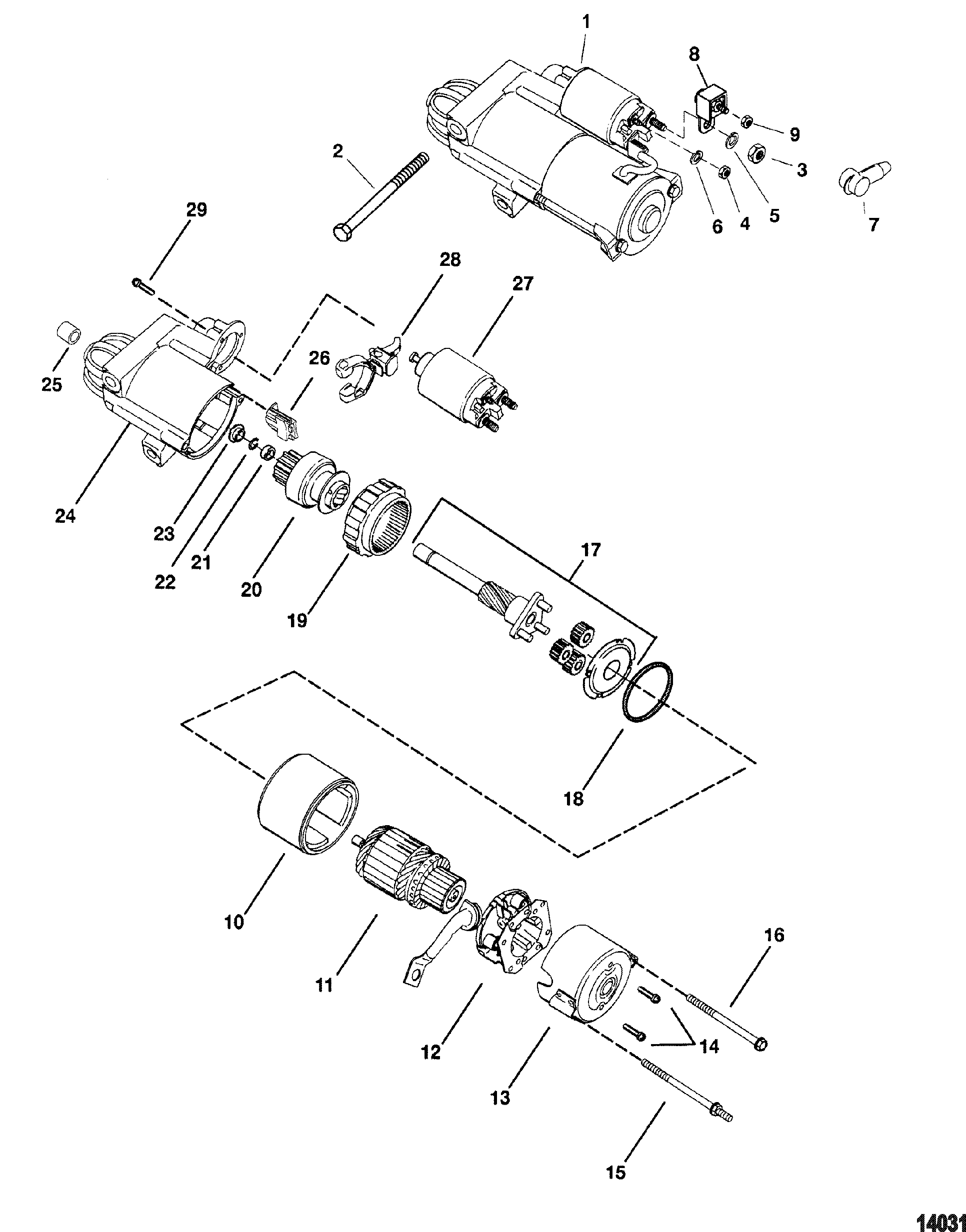
Wiring Diagram For Marine Engine Starter Motor

KOMPETENCJECYFROWE.VILOGDANSK.EU

Wiring Diagram For Marine Engine Starter Motor

  • Starter Motor
  • Date : December 30, 2020
  • Downloaded : 6332 times

Wiring Diagram For Marine Engine Starter Motor Whats New

Diagram For Marine Engine

Downloads Wiring Diagram For Marine Engine Starter Motor

  • Blog Full

  • Information On Marine

  • Mercury Marine 115 Hp Efi 4

  • Mercury Marine 125 Hp 4 Cylinder Starter Motor Parts

  • Mercury Marine Model 850 85 Hp 4 Cylinder Starter Motor

  • Starter Motor Delco

  • Mercury Marine Model 800 80 Hp 6 Cylinder Starter Motor

  • Mercury Marine 4 Hp 2

  • Caterpillar 3208 Marine Engine Wiring Diagram Gallery

  • Mercury Marine 25xd Hp Starter Assembly Manual Parts

  • Engine Starter Circuit

  • Mercury Marine 100 Hp 4 Cylinder Flywheel U0026 Starter

  • F L Starter Wiring Schematic

  • Mariner 25 Hp 25 Hp Marathon Super 15 2 Cylinder

  • Johnson Electric Starter Grroup Parts For 1958 35hp Rds

  • Johnson Electric Starter Group Parts For 1957 18hp Fde

  • Evinrude Starter Motor Parts For 1961 40hp 35525 Outboard

  • Mercruiser 4 3lx 4 Barrel Gm 262 V

  • Mercury Marine 15 Carburetor 2 Cylinder 4

  • 158 Best Tools Images On Pinterest

  • I Have A Lucas Stater On A Holden 308 Engine In A Ski Boat

  • Mercury Marine 40 Hp 2 Cylinder Starter Motor Rectifier

  • Have 1993 25hp 2 Cycle Mercury Outboard It Has A Starter

  • How Do I Wire Starter Motor On Mercury Classic Fifty New

  • Electric Starter Motor Parts For 1961 75hp 50627 Outboard

  • Boost Egt And Horsepower

  • Marine Diesel Engines U2013 Parts Fuel Lubrication Cooling

  • Wiring Harness Efi For Mercruiser 5 0l Efi Alpha Bravo

  • Cylinder Block U0026 End Caps For Mercury Mariner 135 150

  • The Stuart Turner P5 Marine Engine

  • What Is The Dashed Line On This Wiring Diagram Sailing

  • Wiring Harness U0026 Electrical Components For Mercruiser 5

  • Dol Motor Control Wiring Diagram

  • Sabb L3 139lb Lifeboat Diesel Engine Wiring Diagram

  • Re Omc

  • 97 T Bird 4 6 Wont Start Turns Over Good No Spark No

  • Information On Marine

  • Looking For A Solenoid For The Starter On My Yanmar Ysm12

  • Patent Us6909263

  • I Need A Wiring Schematic For A Volvo 350 Chevy Hei Engine

  • Boat Wiring For Dummies Manual

  • Mercury Marine 90 Hp 4

  • Mercruiser 5 0l Efi Gm 305 V

  • Mercury Marine 8 Hp 4

  • Mercury Marine 9 8 2 Cylinder International Recoil

  • 1990 Yamaha Manual Starter Parts For 25 Hp 25eld Outboard

  • 6bta 5 9 U0026 6cta 8 3 Mechanical Engine Wiring Diagrams

  • Evinrude Fastwin Starter Parts For 1960 18hp 15032

  • Engine Mounting New Design

  • Troubleshooter What To Do When Your Engine Won U0026 39 T Start

  • I Have A Volvo Penta Aq131a I Have An Automotive Fuel

  • Mercury Marine 225 Hp 3 0l Efi Starter Motor Parts

  • Johnson Recoil Starter Parts For 2007 15hp J15r4sub

Copyright © 2020 - KOMPETENCJECYFROWE.VILOGDANSK.EU


1937 Comments