Diagram Database

Posted by on 2020-12-30

Wiring Diagram For 2007 Dodge Ram 2500

KOMPETENCJECYFROWE.VILOGDANSK.EU

Wiring Diagram For 2007 Dodge Ram 2500

  • Ram 2500
  • Date : December 30, 2020
  • Downloaded : 6179 times

Wiring Diagram For 2007 Dodge Ram 2500 Whats New

Diagram For 2007 Dodge

Downloads Wiring Diagram For 2007 Dodge Ram 2500 diagram for serpentine belt 2007 dodge nitro dodge dakota 2007 diagram for headlights wiring diagram for 2007 dodge grand caravan wiring diagram for 2007 dodge ram 1500 wiring diagram for 2007 dodge ram 3500 fuse box diagram for 2007 dodge charger fuse diagram for 2007 dodge caliber belt diagram for 2007 dodge caliber wiring diagram for 2007 dodge ram 3500 wiring diagram for 2007 dodge ram 1500

  • I Have A 2007 Dodge Ram 2500 4x4 Laramie Mega Cab This

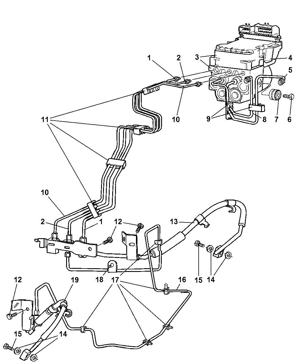
  • 2007 Dodge Ram 2500 Hcu Lines And Hoses Brake Front

  • Wiring Diagram For 2007 Dodge Ram 2500 6 7l 4x4

  • 2007 Dodge Ram 2500 Crossmember Front Axle Skid Plate

  • 2007 Dodge Ram 2500 Damper Steering Up To 02 14 08 Up

  • 2007 Dodge Ram 2500 Muffler Exhaust Engine System Hemi

  • Wiring Diagram For 2007 Dodge Ram 2500 6 7l 4x4

  • 2007 Dodge Ram 2500 Weatherstrip Door Belt Right

  • 2007 Dodge Ram 1500 Wiring Diagram

  • 2007 Dodge Ram 2500 Clamp Hose Cac To Duct Duct To

  • 68029449aa

  • 4617210

  • 2007 Dodge Ram 2500 Wiring Engine Injector Tag

  • 55276202ag

  • 4801777aa

  • 2007 Dodge Ram 2500 Wiring Engine Injector Tag

  • Wiring Diagram 31 2007 Dodge Ram Wiring Diagram

  • 56051431ab

  • Wiring Diagram 31 2007 Dodge Ram Wiring Diagram

  • Wiring Diagram 31 2007 Dodge Ram Wiring Diagram

  • 2005 Dodge Ram 2500 Trailer Wiring Diagram

  • Need The Belt Diagram For Dodge Ram 2500

  • 2007 Dodge Ram 1500 Hinge Hood Right

  • 60 Inspirational Wiring Diagram 2007 Dodge Ram 2500 5 9

  • Belt Zara Images Dodge Ram Belt Diagram

  • Dodge Ram 2500 Wiring Engine

  • 60 Inspirational Wiring Diagram 2007 Dodge Ram 2500 5 9

  • 68005253aa

  • 60 Inspirational Wiring Diagram 2007 Dodge Ram 2500 5 9

  • 2005 Dodge Ram 2500 Diesel Wiring Diagram

  • 2003 Dodge Ram 2500 Diesel Wiring Diagram

  • 1997 Dodge Ram 2500 Wiring Schematics

  • 35 Dodge Ram 3500 Parts Diagram

  • 1998 Dodge Ram 2500 Wiring Diagram Database

  • 2003 Dodge Ram 2500 Fuse Box Diagram

  • 2007 Dodge Ram 2500 Hose Emissions State Plumbing

  • Filter Transmission Filter Genuine Mopar 5013470ac

  • 2007 Dodge Ram 2500 Bracket Tow Hook Right Hooks

  • 2008 Dodge Ram 1500 Remote Start Wiring Diagram

  • Dodge Ram 2500 O Ring A C Suction Line Stat Venezuse

  • Fuse Box Diagram Dodge Ram 1500 2500 2002

  • Dodge Truck Stereo Wiring Diagram

  • 2004 Dodge Ram 1500 Trailer Wiring Diagram

  • 2005 Dodge Ram 2500 Trailer Wiring Diagram

  • 2004 Dodge Ram 1500 Trailer Wiring Diagram

  • 5029419ag

  • 2004 Dodge Ram 2500 Steering Parts Diagram

  • 2012 Dodge Ram 2500 Tube Assy Pressure Diesel Front

  • 2007 Dodge Ram 2500 Valve Body Assembly Remanufactured

  • Headlight Wiring Diagram For 2007 Dodge Ram 2500

  • Wiring Diagram 31 2007 Dodge Ram Wiring Diagram

  • 2004 Dodge 2500 Ram Diesel Quadcab 4x4 Heavy Duty Driver

Copyright © 2020 - KOMPETENCJECYFROWE.VILOGDANSK.EU


1937 Comments