Diagram Database

Posted by on 2020-12-30

Wiring Diagram For 1994 Jeep Wrangler

KOMPETENCJECYFROWE.VILOGDANSK.EU

Wiring Diagram For 1994 Jeep Wrangler

  • Jeep Wrangler
  • Date : December 30, 2020
  • Downloaded : 7068 times

Wiring Diagram For 1994 Jeep Wrangler Whats New

Diagram For 1994

Downloads Wiring Diagram For 1994 Jeep Wrangler diagram for 1994 chevy pickup truck diagram for 1994 ford ranger engine diagram for 1994 ford ranger clutch system

  • 1994 Jeep Cherokee Jeep Wrangle Service Repair Manual

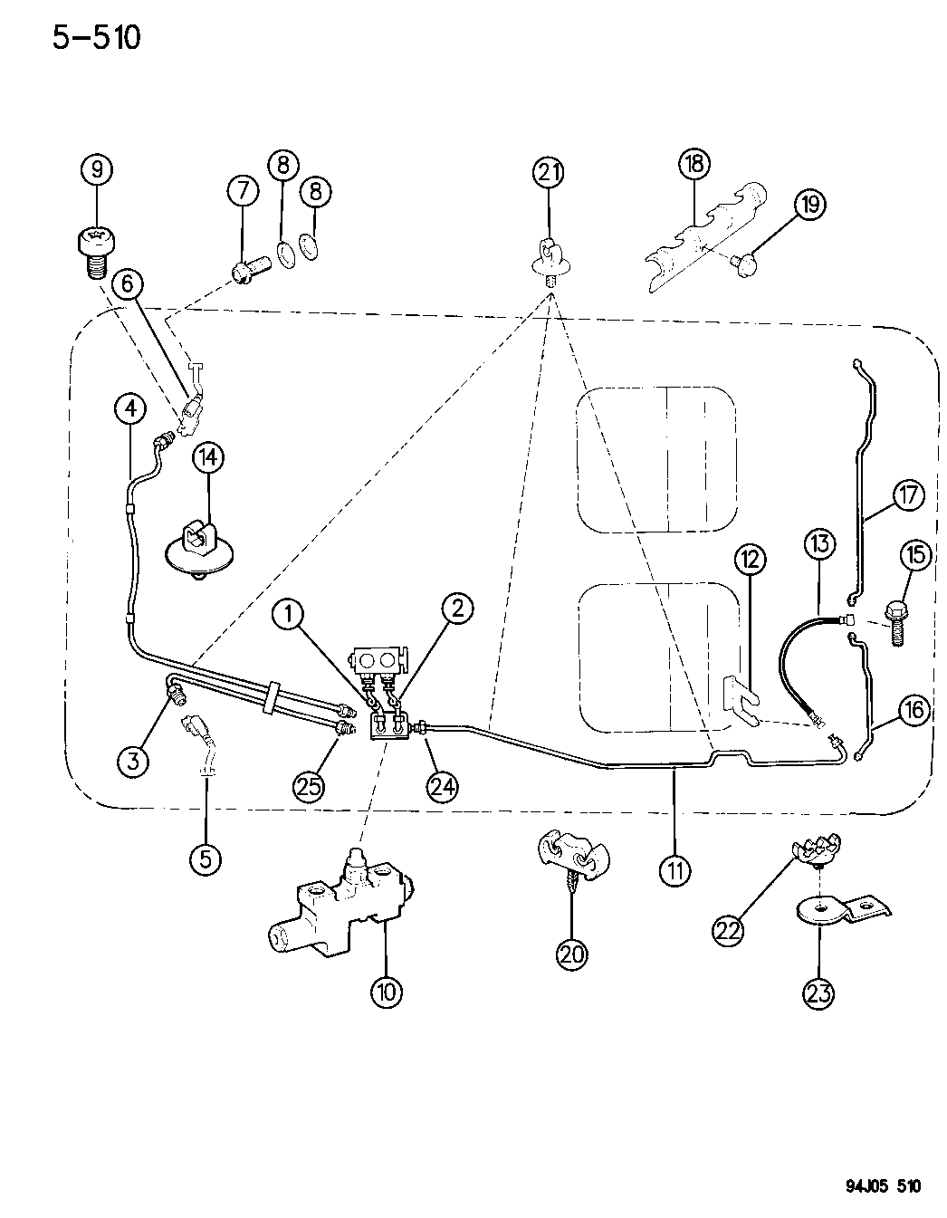
  • 1994 Jeep Wrangler Fuel Lines Front

  • 1994 Jeep Wrangler Yj Wiring Diagram

  • 52009115

  • 60 Unique Jeep Jk Infinity Amp Wiring Diagram Pictures

  • 55176165

  • 1994 Jeep Cherokee Jeep Wrangle Service Repair Manual

  • 55074949 - Genuine Mopar Latch-full Door

  • 31 1994 Jeep Wrangler Wiring Diagram

  • Jeep Wrangler 1994 Fuel Pump Fuse Box Block Circuit

  • 60 Luxury 1994 Jeep Wrangler Ignition Wiring Diagram Pics

  • 31 1994 Jeep Wrangler Wiring Diagram

  • 31 1994 Jeep Wrangler Wiring Diagram

  • 52007022

  • 55074951

  • 1994 Jeep Wrangler Fuel Tank

  • 1994 Jeep Wrangler Control Clutch

  • 1994 Jeep Wrangler Radio Wiring Diagram

  • Jeep Wrangler Yj 1987 - 1996 - Fuse Box Diagram

  • Jeep Wrangler Yj Wiring Diagram

  • 93 Yj Wiring Diagram

  • Pin On Jeep Yj Parts Diagrams

  • Fuse Box Jeep Wrangler Yj

  • Fuse Box On 94 Jeep Wrangler

  • 60 Luxury 1994 Jeep Wrangler Ignition Wiring Diagram Pics

  • Wiring Diagrams

  • 1993 Jeep Wrangler Belt Fan And Power Steering Drive

  • Wiring Diagrams

  • Wiring Diagrams

  • 52058121ab

  • 55037201

  • Jeep Wrangler 1995 Fuse Box Block Circuit Breaker Diagram

  • 1997 Jeep Wrangler Heater Motor Wiring

  • 1994 Jeep Cherokee Jeep Wrangle Service Repair Workshop

  • 8k

  • 55217081

  • Wiring Diagram For A 94 Jeep Wrangler

  • 1994 Jeep Yj Fuse Box Diagram

  • 1994 Jeep Wrangler Lift Door Glass U0026 Related Parts

  • J4003120

  • 93 Yj Wiring Diagram

  • 1993 Gm Starter Wiring

  • 89 Jeep Wrangler Ignition Switch Wiring Diagram

  • 52038366

  • I Have A 1994 Jeep Grand Cherokee Limited The Won U0026 39 T Turn

  • 1989 Jeep Wrangler 4 2 Ecm Wiring Diagram

  • Diagram 2003 Jeep Wrangler Engine Diagram Full Version

  • 31 1994 Jeep Wrangler Wiring Diagram

  • 1994 Jeep Wrangler Yj U0026 Cherokee Xj Service Shop Manual

  • I Have A 1994 Jeep Grand Cherokee The Blinkers Were

  • 1994 4 0 Vacuum Diagram

Copyright © 2020 - KOMPETENCJECYFROWE.VILOGDANSK.EU


1937 Comments