Diagram Database

Posted by on 2020-12-30

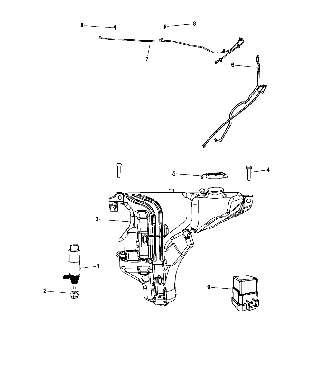
Toyota 3 0 Engine Diagram Windshield Washer Resevor

KOMPETENCJECYFROWE.VILOGDANSK.EU

Toyota 3 0 Engine Diagram Windshield Washer Resevor

  • Washer Resevor
  • Date : December 30, 2020
  • Downloaded : 6179 times

Toyota 3 0 Engine Diagram Windshield Washer Resevor Whats New

3 0 Engine Diagram Windshield

Downloads Toyota 3 0 Engine Diagram Windshield Washer Resevor

  • Windshield Washer Reservoir Leaking

  • Repair Guides

  • Windshield Washer Reservoir Leaking

  • Ford Ranger Washer Fluid Reservoir Cap Washer Fluid 3 0

  • 68101141aa

  • Ford Explorer Washer Fluid Reservoir Cap Washer Fluid 3

  • 2005 Chevrolet Trailblazer Washer Fluid Reservoir

  • 2015 Dodge Charger Reservoir Windshield Washer

  • 98610-2m000

  • 4805742ab

  • 98610-4z000

  • 986202p010

  • 68134379aa

  • 8535547021

  • 986201w500

  • 98621g5000

  • Electric Equipment Other Washer Unit Windshield And

  • Hyundai Accent Windshield Washer Hose Fit Cut Feed

  • 985102s000

  • 28915

  • Cadillac Cts Windshield Washer Hose

  • 28635

  • 86631sc000

  • Suzuki Oem Grand Vitara Wiper Washer

  • Super Car Build Windshield Wiper Harness 5

  • Ford Ranger 1994 - 2009 3 0 V6

  • 76850-sln-305

  • Mercury Montego 2005 - 2007 3 0 V6

  • 89

  • Dorman U00ae 603-212

  • Replace U00ae

  • 97 Reservoir

  • 28913-1ka1a

  • 2006 Frontier Owner U0026 39 S Manual

  • Repair Guides

  • Windshield Washer Hose Diagram Anyone Plz

  • Ford Edge 2007 - 2014 2-0 - Fluid Level Checks

  • 86610sa061

  • 2208690020 Windshield Washer Reservoir For Sale S600

  • U73b0 U4ee3 U8d77 U4e9a Reservoir Assy-w Shld Washer 986200q600

  • 1998 Ford Ranger Windshield Washer Fluid Reservoir Bottle

  • Leaking Washer Reservoir - Clublexus

  • Car Engine Windshield Washer Fluid Reservoir Cap Closeup

  • 98510a9000

  • Cloudfireglory 86631aj020 Windshield Washer Reservior Tank

  • 89

  • Engine Compartment Check Locations

  • U73b0 U4ee3 U8d77 U4e9a Reservoir Assy-w Shld Washer 98620f9000

  • 5182327aa

  • 86631fl01a

  • 98610-f2000

  • 2004 Murano Owner U0026 39 S Manual

  • Engine Compartment Overview Vehicle Checks Vehicle

  • 986202g500

  • Mack Truck 216

  • Kia Cee U0026 39 D - Rain Sensor Schematic Diagrams

Copyright © 2020 - KOMPETENCJECYFROWE.VILOGDANSK.EU


1937 Comments