Diagram Database

Posted by on 2020-12-30

Logic Diagram Sama

KOMPETENCJECYFROWE.VILOGDANSK.EU

Logic Diagram Sama

  • Diagram Sama
  • Date : December 30, 2020
  • Downloaded : 6173 times

Logic Diagram Sama Whats New

Diagram

Downloads Logic Diagram Sama diagram diagram definition diagramming sentences diagram of heart diagram of the eye diagram of vagina diagrams.net diagrams online diagram of an atom diagram maker diagrama diagram designer diagram of ear diagram of human organs diagram of a microscope diagram of digestive system diagram of a volcano diagram of photosynthesis cycle diagram of a cell diagram of knee anatomy diagram of organs in body diagram of the brain sama logic diagram logic diagrams samples logic diagram simulator logic diagram maker logic diagram maker online logic diagram shapes logic diagram symbols logic diagram symbols pdf logic diagram symbol meanings logic diagram symbol for timer logic diagram example logic diagram solver logic diagram square logic diagram software logic diagram microsoft logic diagram software free

  • The Scientific Apparatus Makers Association Sama Diagram

  • Sama Standard For Boiler Diagrams Symbols

  • Sama Functional Diagram - Automation

  • The Denitrification Control Sama Diagram

  • Sama Standard For Boiler Diagrams Symbols

  • Automation And Instrumentation Sama Diagrams

  • What Is Sama Diagram

  • What Is Sama Diagram

  • Sama Standard For Boiler Diagrams Symbols

  • Sama Diagram Tutorial

  • Control Diagram Symbols - Plcs Net

  • Figure 1 From 2 Processed Signal Continuation Symbols

  • Automation And Instrumentation January 2013

  • Sama Diagram Tutorial

  • Instrumentation Docments

  • Figure 4 From 2 Processed Signal Continuation Symbols

  • Transtech Projects

  • Controldraw Introduction

  • Instrumentation Docments

  • Figure 6 From 2 Processed Signal Continuation Symbols

  • Instrumentation Docments

  • Figure 4 From 2 Processed Signal Continuation Symbols

  • Instrumentation Docments

  • Best Of Interior Design And Architecture U0026quot Shimokawa

  • Ys1700 Boiler Control Overview

  • Instrumentation Docments

  • Ouji-sama Ni Wa Doku Ga Aru 7 Kingsmanga Net

  • Color Online The Valve Control Logic Of The Main

  • Automation And Instrumentation Process And Instrument

  • Japanese Kanji On Correlation Diagram Kaguya

  • Japanese Kanji On Correlation Diagram Kaguya

  • Himpunan Dan Diagram Venn

  • Indahnya Dunia Analisis Perancangan Sistem Informasi

  • Does Anyone Have A Parts Diagram For The Sama Export

  • Pin By Alina

  • Atsama5d31

  • Processes

  • Sama Diagram Tutorial

  • Instrumentation Docments

  • Process Controls Symbols Visio Stencil

  • Edward Tufte Forum Links Causal Arrows Networks

  • The System Model Of The Sama Scheme

  • Pin By Alina

  • Instrumentation Symbol U0026 Identification

  • Does Anyone Have A Parts Diagram For The Sama Export

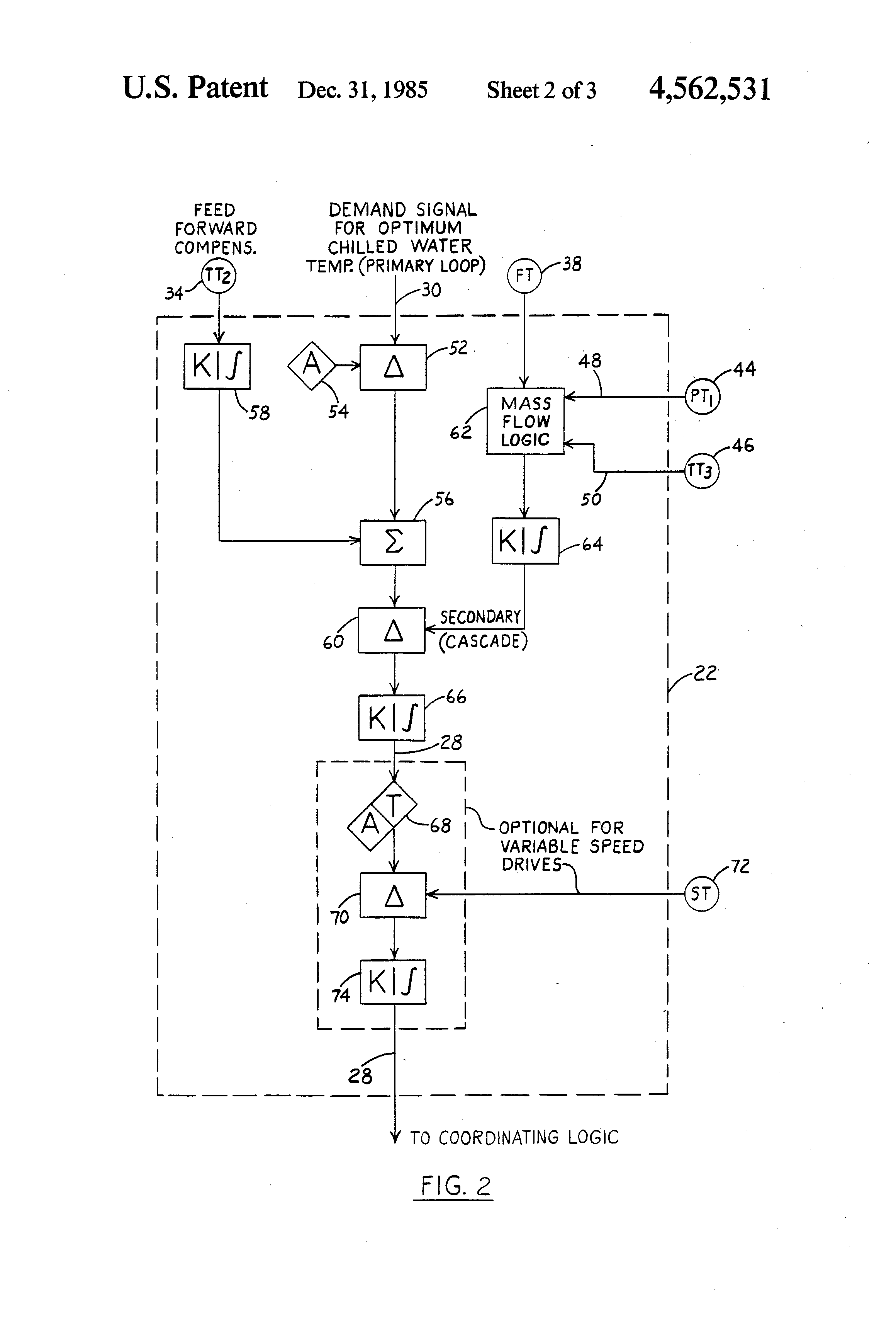
  • Patent Us4562531

  • Kaichou Wa Maid

  • Atmel Introduces Sama5d3 Cortex A5 Embedded Mpus And

  • Automation And Instrumentation Process And Instrument

  • Pengertian Flowchart Tujuan Jenis Simbol Cara Membuat

  • E

  • Beberapa Operasi Antarhimpunan Yang Penting Adalah

  • Patent Ep0139378a2

  • Does Anyone Have A Parts Diagram For The Sama Export

  • Journal Of Dhamar Statistik Penyajian Data Statistik

  • Perangkat Lunak Diagram Online U0026 Pemodelan Proses

  • Materi Lengkap Rangkaian Arus Bolak

  • P U00e1gina 4 Kaichou Wa Maid

  • Oku-sama Ga Seito Kaichou

  • Aurix Space Marine Diagram By Gokou

Copyright © 2020 - KOMPETENCJECYFROWE.VILOGDANSK.EU


1937 Comments