Diagram Database

Posted by on 2020-12-30

Kitchenaid Microwave Control Panel Wiring Diagram For

KOMPETENCJECYFROWE.VILOGDANSK.EU

Kitchenaid Microwave Control Panel Wiring Diagram For

  • Diagram For
  • Date : December 30, 2020
  • Downloaded : 7492 times

Kitchenaid Microwave Control Panel Wiring Diagram For Whats New

Microwave Control Panel Wiring

Downloads Kitchenaid Microwave Control Panel Wiring Diagram For

  • Kitchenaid Microwave Wiring Diagram

  • Looking For Sharp Model R

  • Sharp Microwave Parts

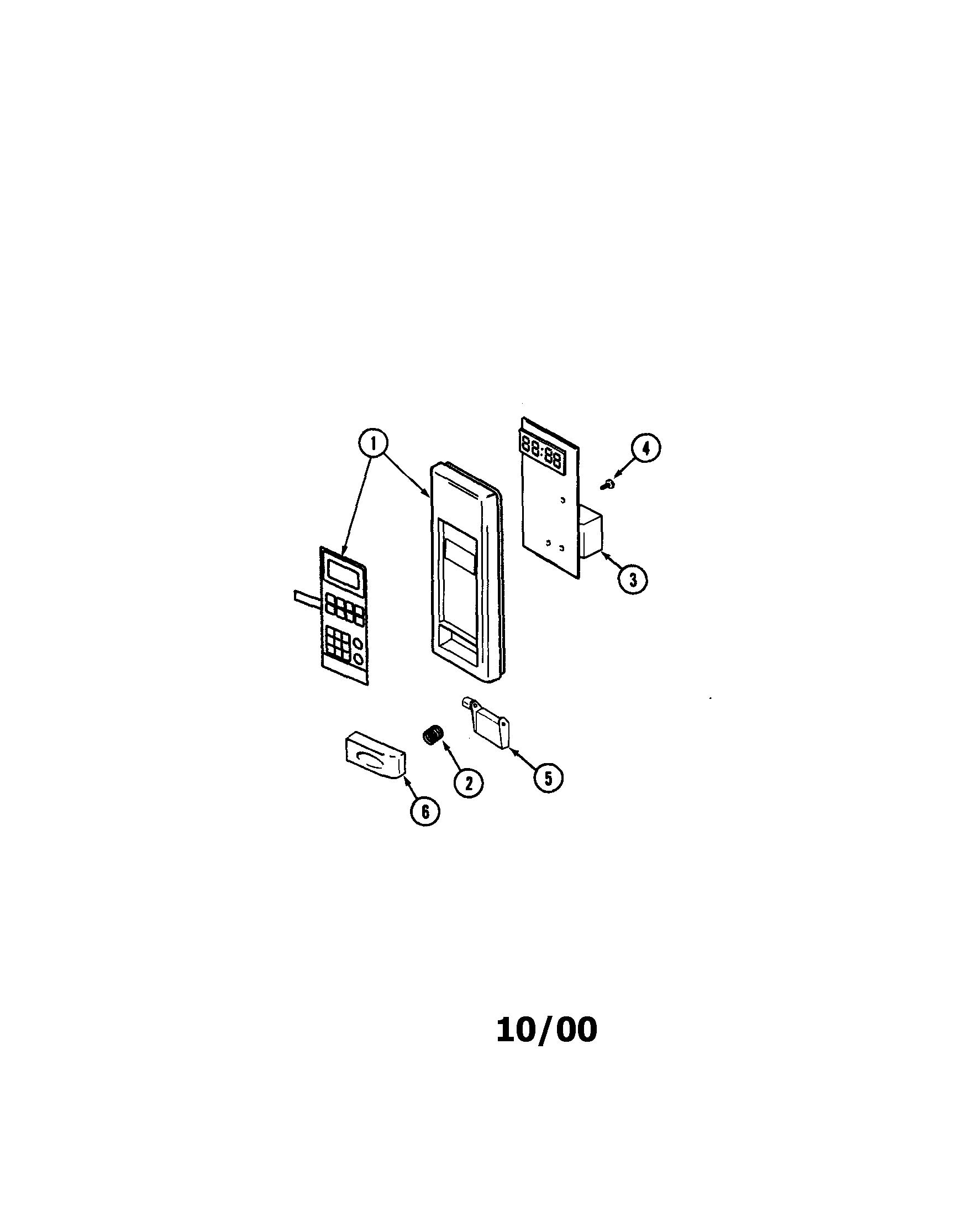
  • Microwave Oven Control Board

  • Whirlpool Microwave Wiring Diagram Gallery

  • Sharp Model R

  • Sharp Microwave Parts

  • Frigidaire Model Ffmv164lsa Microwave Hood Combo Genuine Parts

  • Emerson Model Mw8985w Countertop Microwave Genuine Parts

  • Sharp Microwave Parts

  • Sharp Model R

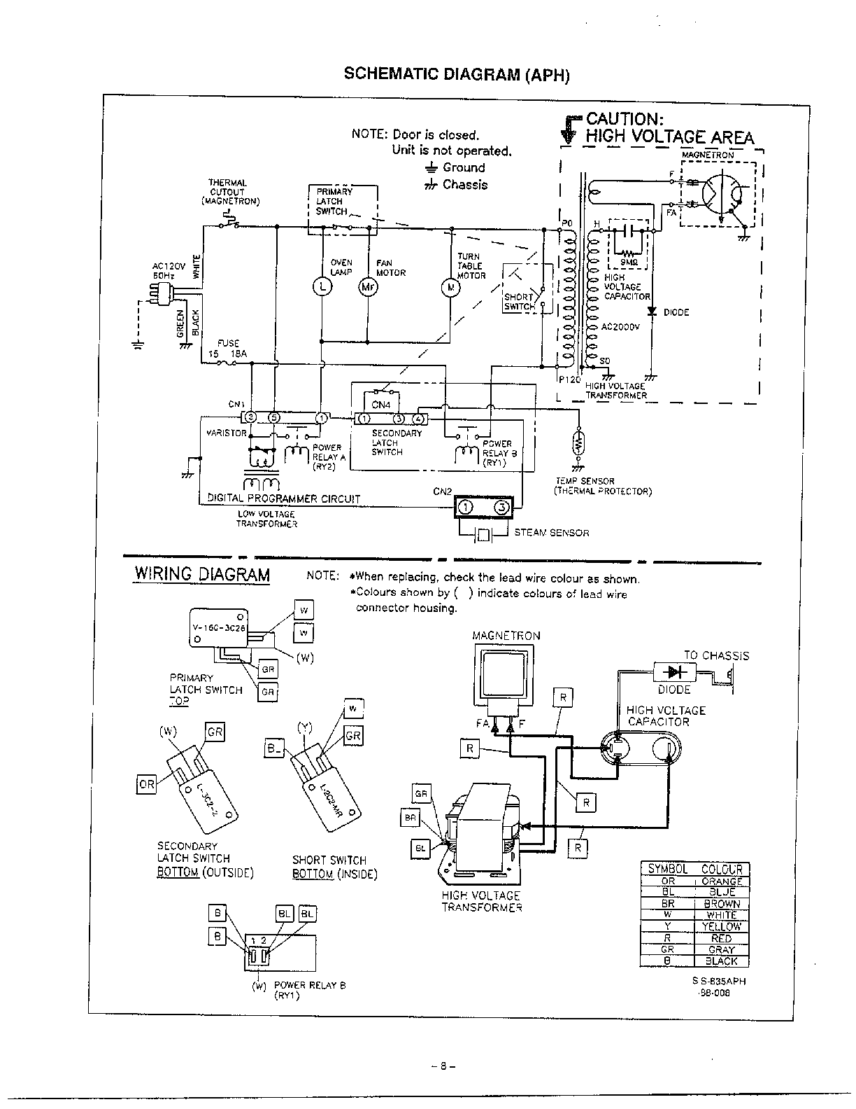
  • Microwave Oven Wiring Diagram

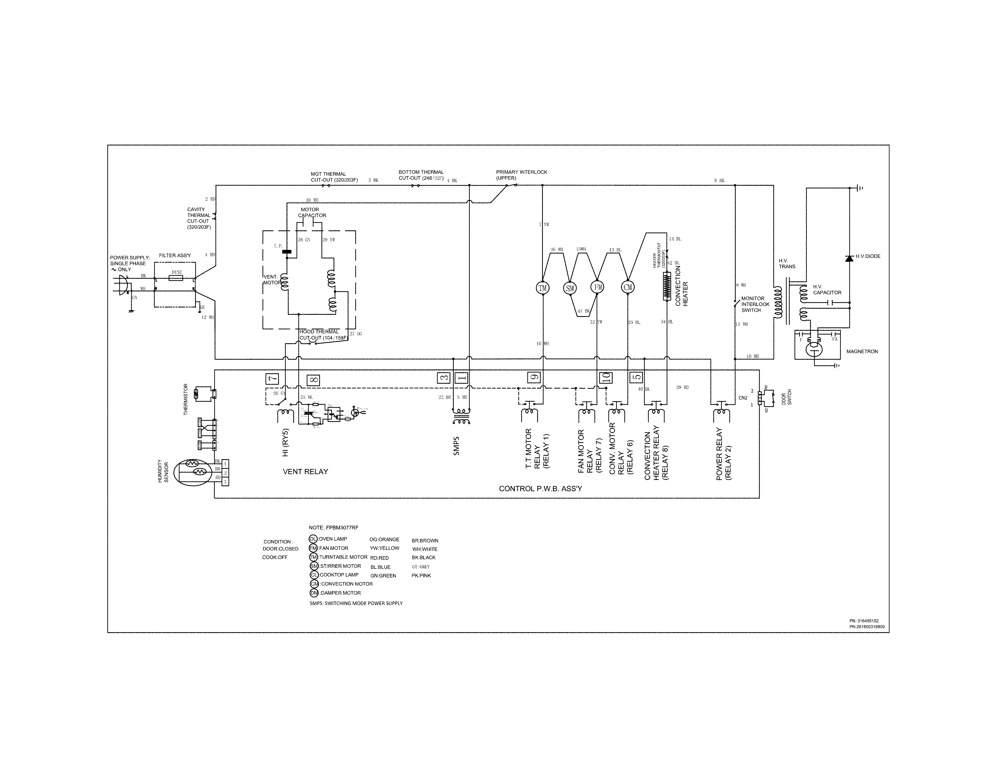
  • Frigidaire Model Fpbm3077rfa Microwave Hood Combo Genuine

  • Kenmore Hood Combo

  • Sharp Microwave Control Panel Circuit Parts

  • Kenmore Model 79048849900 Built

  • All Brands Microwave Control Repair Circuit Board Repair

  • Sharp Model Kb

  • Kitchenaid Kems378bbl0 Wall Oven Microwave Combo Parts

  • Frigidaire Model Fgmv205kfa Microwave Hood Combo Genuine Parts

  • Schematic Diagram Of A Typical Map Set U2010up 37 1

  • Sharp Microwave Oven Parts

  • Sharp Microwave Oven Parts

  • Frigidaire Model Fgmc2765pfc Built

  • Kenmore

  • Whirlpool Gmc275pdb1 Electric Oven Microwave Combo Timer

  • Maytag Microwave Parts

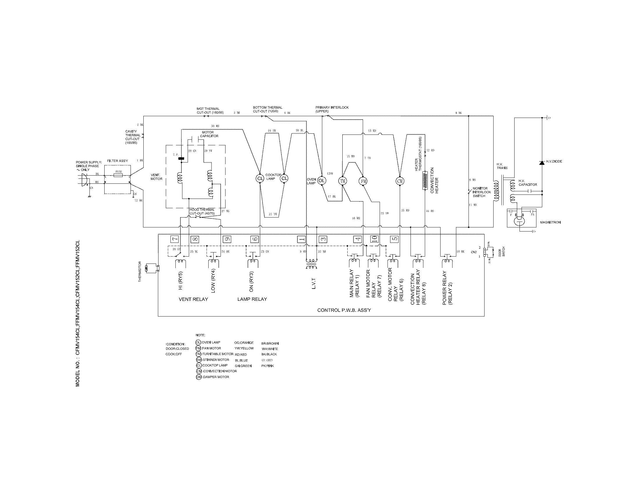
  • Frigidaire Model Ffmv154clsa Microwave Hood Combo Genuine

  • Magic Chef Cm47jw14t Microwave Timer

  • Whirlpool Microwave Oven Hood 1 7 Cu Ft Parts

  • 35 Duplex Pump Control Panel Wiring Diagram

  • Ge Wb27x1055 Power Control Module Display

  • Parts For Frigidaire Fgmv174kfb Wiring Diagram Parts

  • Parts For Electrolux Ew30mo55hsa Control Panel Door

  • Hotpoint Microwave Control Panel Wire Harness U0026 Wire

  • Panasonic Panasonic Microwave Oven Parts

  • Whirlpool Rm288pxv6 Electric Built

  • Whirlpool Microwave Hood Combination Parts

  • Frigidaire Model Plmv168kc3 Microwave Hood Combo Genuine Parts

  • Whirlpool Microwave Oven 1 6 Cu Ft Parts

  • Whirlpool Microwave Parts

  • Patent Ep1379106a2

  • Microwave Oven Wiring Diagram

  • Parts For Electrolux Ew30so60qsa Control Panel Door Misc

  • Control Panel Diagram U0026 Parts List For Model R1m53 Sharp

  • Looking For Frigidaire Model Fgmo3067ud Built

  • Parts For Electrolux Ei30bm55hsc Control Panel Door

  • Resistance Soldering Transformer

  • Kenmore Microwave Parts

  • Frigidaire Electric Oven W Microwave Parts

  • Parts For Frigidaire Fmv145kb3 Wiring Diagram Parts

  • Whirlpool Microwave Control Panel Parts

  • Electrical Control Panel Wiring Diagram Perfect Electrical

  • Esalvage Microwave Oven Daewoo

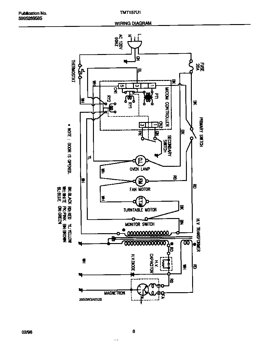
  • Tappan Model Tmt157u1b0 Countertop Microwave Genuine Parts

  • Sharp Model R

  • Frigidaire Walloven

  • We Have A Sharp Microwave Model R

  • Maytag Microwave Parts

Copyright © 2020 - KOMPETENCJECYFROWE.VILOGDANSK.EU


1937 Comments