Diagram Database

Posted by on 2020-12-30

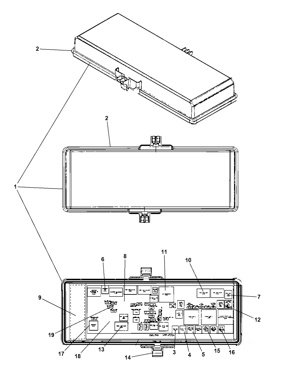
Dodge Journey Fuse Diagram

KOMPETENCJECYFROWE.VILOGDANSK.EU

Dodge Journey Fuse Diagram

  • Fuse Diagram
  • Date : December 30, 2020
  • Downloaded : 7440 times

Dodge Journey Fuse Diagram Whats New

Journey

Downloads Dodge Journey Fuse Diagram journeys journeys.com journeys kidz journeys shoes journey songs journey band journey brown journey to the west journey game journeys kids journey map journey to the center of the earth journey girls journey to ernie journey synonym journeyman journey back to christmas journey church journey don't stop believing journey 2 the mysterious island journey to the savage planet journey brown retire journey federal credit union dodge journey fuse box diagram 2016 dodge journey fuse diagram 2012 dodge journey fuse diagram 2012 dodge journey fuse panel diagram

  • Dodge Journey Fuse Box Diagram

  • A9099 Dodge Journey 2010 Fuse Box Diagram

  • 2010 Dodge Journey Fuse Box Diagram

  • Dodge Journey 2011 U2013 Fuse Box Diagram

  • 79db Dodge Journey Fuse Box

  • Fuse Location Amp Rating Circuit Protected With Regard

  • Fuse Box Diagram Dodge Journey 2009

  • Fuse Box Diagram Dodge Journey 2011

  • Dodge Journey Fuse Box 2011

  • Dodge Journey Fuse Box Cover 2009-10

  • Rl049720at

  • Dodge Journey Body Control Module Hid Headlamps Make

  • 2017 Dodge Journey Interior Fuse Box Location

  • 2010 Dodge Journey Interior Fuse Box

  • 79db Dodge Journey Fuse Box

  • 2013 Dodge Journey Fuse Standard 10 Amp Red Back Of

  • 2017 Dodge Journey Interior Fuse Box Location

  • 2013 Dodge Journey Fuse Standard Back Of Radio Modules

  • 2010 Dodge Journey Interior Fuse Box Diagram

  • Vauxhall Combo 2002 Fuse Box Diagram

  • 68143317ad

  • 2010 Dodge Journey Interior Fuse Box

  • 04692299aj

  • 2010 Dodge Journey Interior Fuse Box Diagram

  • Fuse Box Location And Diagrams Dodge Journey 2011

  • Dodge Journey Fuse Box Bracket 2011-20

  • Dodge Journey 2009

  • Dodge Journey Fuse Box Diagram

  • 2011 Dodge Journey Fuse Box

  • 2010 Dodge Journey Interior Fuse Box

  • A9099 Dodge Journey 2010 Fuse Box Diagram

  • 2011 Dodge Journey Relay Radiator Fan Headlamp Washer

  • Fuse Box Diagram Dodge Journey 2011

  • Fuse Box Diagram Dodge Journey 2009

  • 2011 Dodge Nitro Fuse Box

  • Fuse Box Diagram Fiat Freemont 2011

  • 2013 Dodge Journey Block Fuse Fuse Holder Air

  • A9099 Dodge Journey 2010 Fuse Box Diagram

  • 2013 Dodge Journey Fuse Standard 10 Amp Red Back Of

  • 79db Dodge Journey Fuse Box

  • 2010 Dodge Journey Interior Fuse Box

  • Dodge Journey Holder Fuse White White Tipm Yellow

  • 2009 Journey 2 4 Alternator Overheating

  • Fuse Diagram 2 5 Jettum

  • Wiring Diagram 31 2002 Dodge Ram 1500 Fuse Box Diagram

  • 2010 Dodge Journey Interior Fuse Box

  • Fuse Box Diagram Dodge Journey 2011

  • 2017 Dodge Journey Interior Fuse Box Location

  • Dodge Journey Relay

  • 2010 Dodge Journey Interior Fuse Box

  • Fuse Box Diagram Dodge Journey 2011

  • 2009 Dodge Journey Fuse Box Diagram

  • I Have A 2009 Infiniti G37 Journey At With Sport Hardwire

Copyright © 2020 - KOMPETENCJECYFROWE.VILOGDANSK.EU


1937 Comments