Diagram Database

Posted by on 2020-12-30

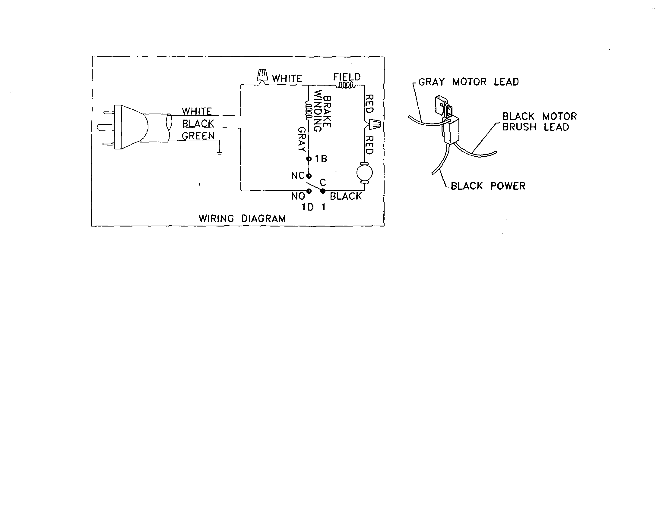
Craftsmanpound Miter Saw Wiring Diagram

KOMPETENCJECYFROWE.VILOGDANSK.EU

Craftsmanpound Miter Saw Wiring Diagram

  • Wiring Diagram
  • Date : December 30, 2020
  • Downloaded : 7039 times

Craftsmanpound Miter Saw Wiring Diagram Whats New

Miter Saw

Downloads Craftsmanpound Miter Saw Wiring Diagram miter saw miter saw stand miter saw table miter saw station miter saw deals miter saw harbor freight miter saws for sale miter saw sale miter saw extension miter saw cart miter saw laser miter saw cabinet miter saw black friday miter saw parts miter saw dual bevel miter saw dust box miter saw home depot miter saw accessories miter saw table plans miter saw stand plans free miter saws at harbor freight miter saws made in the usa miter saw reviews 2020 miter saws at lowes

  • Dewalt Dw705sty5 Miter Saw Parts

  • Dewalt Miter Saw Parts Diagram

  • Dewalt 12 U0026quot Miter Saw Parts

  • Dewalt Model Dw703 Miter Saw Genuine Parts

  • Dewalt Miter Saw Parts Diagram

  • Craftsman Miter Saw Parts

  • Dewalt Miter Saw Parts Diagram

  • Dewalt Dw705 Wiring Diagram

  • Delta 36225ty1 Miter Saw Parts

  • Craftsman Model 315212340 Miter Saw Genuine Parts

  • Ridgid Chop Saw Parts Diagram

  • 315 212110 Craftsman Accessories For 10 Inch Compound

  • Wiring Diagram For Craftsman Miter Saw

  • Dewalt Miter Saw Parts Diagram

  • Kobalt Miter Saw Parts Manual

  • Dewalt Miter Saw Parts Diagram

  • Makita Chop Saw Parts List

  • Hitachi Miter Saw Parts List

  • Dewalt Miter Saw Parts Diagram

  • Dewalt Miter Saw Parts

  • Wiring Diagram Diagram U0026 Parts List For Model 315212350

  • Wiring Diagram 1

  • Power Tool Storage Hand Drill Pump Reviews Makita Table

  • Near-continuous-backup Images - Frompo

  • Delta Model 36

  • Ridgid Chop Saw Parts Diagram

  • Craftsman Trim Saw Parts

  • Dewalt 12 U0026quot Miter Saw Parts

  • Makita Ls1440 Parts Diagram For Assembly 1

  • Ryobi Miter Saw Parts Tss101l

  • Dewalt Chop Saw Parts Diagram

  • Mastercraft Mitre Saw Parts Diagram

  • Ridgid Chop Saw Parts Diagram

  • Ridgid 10 Sliding Compound Miter Saw Parts

  • How To Replace The Switch On A Dewalt Dw718 Miter Saw

  • Kobalt Miter Saw Parts Manual

  • Dewalt Miter Saw Repair U2013 How To Replace The Switch

  • Hitachi Miter Saw Parts List

  • How To Replace The Switch On A Dewalt Dw708 Miter Saw

  • Dewalt Miter Saw Parts Diagram

  • Dewalt Miter Saw Parts Diagram

  • Ridgid Chop Saw Parts Diagram

  • Dewalt Miter Saw Parts Diagram

  • Delta 10 U0026quot Power Miter Saw Parts

  • How To Install A Switch Kit On A Dewalt Dw705 Miter Saw

  • Ryobi Tss120l Repair Sheet Page 9

Copyright © 2020 - KOMPETENCJECYFROWE.VILOGDANSK.EU


1937 Comments