Diagram Database

Posted by on 2020-12-30

Block Diagram Of Yaw Damper

KOMPETENCJECYFROWE.VILOGDANSK.EU

Block Diagram Of Yaw Damper

  • Yaw Damper
  • Date : December 30, 2020
  • Downloaded : 6036 times

Block Diagram Of Yaw Damper Whats New

Diagram Of

Downloads Block Diagram Of Yaw Damper diagram of the eye diagram of heart diagram of vagina diagram of knee anatomy diagram of digestive system diagram of ear diagram of a volcano diagram of photosynthesis cycle diagram of the body diagram of an atom diagram of human body diagram of the brain diagram of a cell diagram of spine diagram of organs in body diagram of earth's layers diagram of the sun diagram of a star diagram of human organs diagram of body organs

  • Figure A1 Measurement Of Yaw Damper Bracket Rigidity A

  • What Is Dutch Roll And Yaw Damper

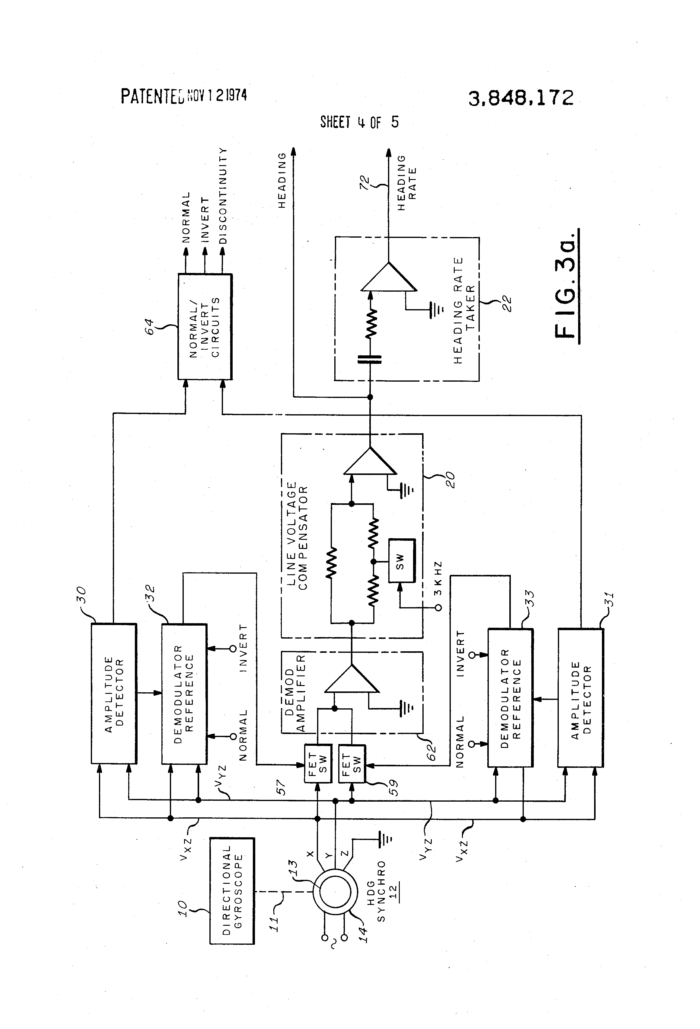
  • Patent Us3848172

  • Patent Us3848172

  • Design Yaw Damper For Jet Transport

  • Block Diagram Showing Inner

  • Limit Cycles Analysis With The Corrected Yaw Damper Model

  • Design Of An Optimal Yaw Damper For 747 Jet Aircraft Model

  • The Impulse Response For The Washout Filter Design Of A

  • Modelling Of The Nonlinear Characteristics Of High

  • Yaw Damper

  • Design Yaw Damper For Jet Transport

  • Experimental Yaw Damper Vs Conventional Model F

  • Considered Arrangement Of Classic White And Active

  • F-15 Flight Controls

  • The Single

  • Block Diagram For Longitudinal Control Of Aircraft

  • Boeing 737 Rudder System

  • Civil System Implementations

  • B737ng Hydraulic Power

  • Design And Implementation Of A Variable

  • F-15 Flight Controls

  • Su

  • 17 Dutch Roll Damper Block Diagram

  • Flight Controls - What Is The U0026quot Yaw Damper U0026quot

  • Genesys Aerosystems Yaw Damper For Avionics Systems

  • Rudder

  • Avionics - Airbus Control Architecture

  • Schematic Of Yaw Damper Hydraulic Circuit

  • Su

  • Effect Of Wheel Rail Contact Non

  • Photos Of The Traction Link And Yaw Damper Of The Test

  • Yaw Damper For S

  • Bifurcation Diagram In The Speed Range 94 6

  • Solved For A Business Aircraft The Yaw Rate - To

  • The Rudder System

  • U041f U0440 U0435 U0437 U0435 U043d U0442 U0430 U0446 U0438 U044f U043d U0430 U0442 U0435 U043c U0443 U0026quot Stl 90 Issue 6 Airbus A340 Flight

  • Edge

  • Five

  • Systems Operation

  • U09b0 U09c7 U09b2 U09c7 U09b0 U0997 U09aa U09cd U09aa U09cb

  • 956903j100

  • Aerodynamics

  • Mike And Sarah Build An Rv

  • Qz8501 Fbw Part 1 U2013 Understanding A320 Computers

  • Basic Control Surfaces Of Fixed Wing Aircraft

  • Koni

  • Dynon Avionics

  • 2 Step Response Of Elevator With Pid Controller B

  • Boeing 737 Pilots Notes

  • An Aircraft U0026 39 S Attitude Varies In Roll Pitch And

  • Relationship Between The Proposed Wheel Rail

  • Comparisons Of Load Histories A Vertical Direction Of

  • What Happened To Tilting Trains U2013 Railway Matters

  • Uncategorized

  • Bogie Of A Chinese High

  • Principles Of Guided Missiles And Nuclear Weapons

  • Building Analytical Model That Can Express Vibration

Copyright © 2020 - KOMPETENCJECYFROWE.VILOGDANSK.EU


1937 Comments