Diagram Database

Posted by on 2020-12-29

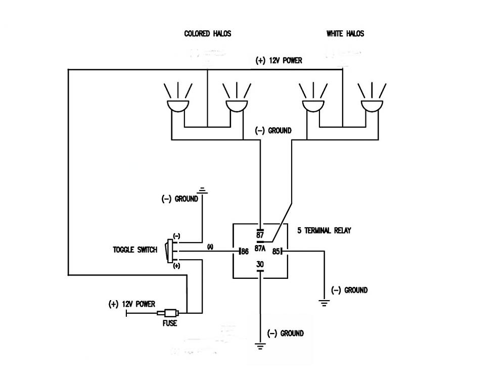
Basic Ls Camaro Headlight Wiring Diagram

KOMPETENCJECYFROWE.VILOGDANSK.EU

Basic Ls Camaro Headlight Wiring Diagram

  • Wiring Diagram
  • Date : December 29, 2020
  • Downloaded : 6982 times

Basic Ls Camaro Headlight Wiring Diagram Whats New

Ls Camaro Headlight

Downloads Basic Ls Camaro Headlight Wiring Diagram

  • How

  • Headlight Door U0026 Name Headl U0026doorassemblies Jpg Views

  • 67 Camaro Headlight Wiring Harness Schematic

  • 2010 Chevy Camaro Headlight Wiring Diagram

  • Headlight Wiring Diagram - Ls1tech

  • Headlight Wiring Diagram - Ls1tech

  • 67 Camaro Hide Away Headlight Wiring Diagram

  • 67 Camaro Rs Headlights And Doors Not Working

  • Wiring Diagrams Camaro Zl1

  • Firebird Headlight Wiring Diagram - Camaro Zone

  • Pin On Camaro Wiring And Resto Info

  • Quick Question On Dual Color Halo Wiring

  • C5 Ls1 Alternator Wiring Question - Ls1tech

  • Wiring Up 98 Gauge Cluster - Ls1tech

  • Pcm Controlled Ac

  • Chevrolet Camaro Headlight Wiring Harness W Hid W Zl1

  • Diagram 1969 Camaro Horn Wiring Diagram Full Version Hd

  • 98 Ls1 Alternator Exciter Wire - Ls1tech

  • Chevrolet Camaro Headlight Wiring Harness W O Hid 2014

  • Chevrolet Camaro Headlight Wiring Harness W O Hid 2016

  • Chevrolet Camaro Headlight Wiring Harness W Hid W O Zl1

  • Ls Swap Need Some Pointers Please

  • Headlight Switch Wiring Help - Ls1tech

  • 98 Camaro Wiring Diagram

  • 1968 Camaro Wiring Diagram Pdf

  • Gm Headlight Switch Pinout - Ls1tech

  • Lt1 Starter Wiring Diagram Most Ls3 Wiring Diagram Ls1tech

  • 2002 Ls1 Engine Wiring Diagram

  • 2011

  • Camaro 1967 1968 U0026 1969 Wiring Diagram Including

Copyright © 2020 - KOMPETENCJECYFROWE.VILOGDANSK.EU


1937 Comments