Diagram Database

Posted by on 2020-12-30

6 5 Hp Mercury Thunderbolt 4 Cyl Engine Diagram

KOMPETENCJECYFROWE.VILOGDANSK.EU

6 5 Hp Mercury Thunderbolt 4 Cyl Engine Diagram

  • Engine Diagram
  • Date : December 30, 2020
  • Downloaded : 6175 times

6 5 Hp Mercury Thunderbolt 4 Cyl Engine Diagram Whats New

5 Hp Mercury Thunderbolt 4 Cyl

Downloads 6 5 Hp Mercury Thunderbolt 4 Cyl Engine Diagram

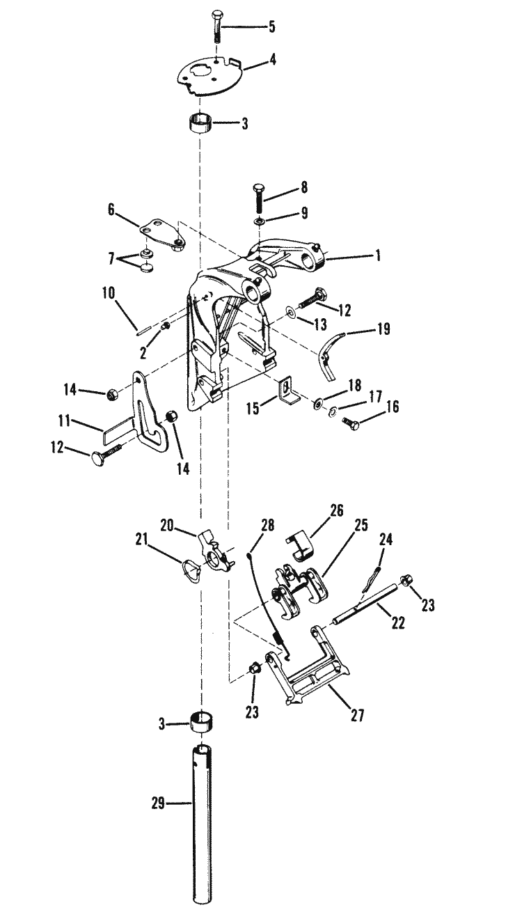
  • Mercury Marine 4 5 Hp 1 Cylinder Swivel Bracket Assembly

  • Mercury Marine 4 5 Hp 1 Cylinder Top Cowl U0026 Starter

  • Mercury Marine 4 5 Hp 1 Cylinder Carburetor Assembly

  • Mercury Marine 4 5 Hp 1 Cylinder Bottom Cowl Assembly Parts

  • Mercury Thunderbolt 500 Page 1

  • Mercury Marine 4 5 Hp 1 Cylinder Carburetor Choke

  • Mercury Marine 4 5 Hp 1 Cylinder Flywheel U0026 Ignition

  • Mercury Marine 50 Hp Efi 4 Cylinder 4

  • Mercury Marine 4 5 Hp 1 Cylinder Drive Shaft Housing

  • Cylinder Block Crankshaft Piston For Mercury Mariner

  • Mercury Marine 4 5 Hp 1 Cylinder Product Of Japan

  • Mercury Marine Model 45 4 5 Hp 1 Cylinder Carburetor

  • Mariner 50 Hp 4

  • Wiring Diagram 12 Mercruiser Trim Gauge Wiring Diagram

  • 4 3 Starter Wiring Diagram Mercruiser

  • Mercury 4 5 6 4

  • Mercury Outboard Wiring Diagrams

  • Mercruiser 170 2 Barrel Mercury 224 I L4 1985

  • Mercury Marine 60 Hp Efi 4 Cylinder 4

  • Wiring Diagram Mercruiser Thunderbolt Iv Ignition 4 3 V6

  • Mercury Marine 100 Hp 4 Cylinder Flywheel U0026 Starter

  • Mercury Marine Model 45 4 5 Hp 1 Cylinder Stator

  • Mercury Marine 30 Hp Carburetor 3 Cylinder 4

  • Mcm 165 Mercruiser Manual

  • Mercruiser 3 7lx 4 Barrel Mercury 224 I L4 1988

  • Have A 1975 Mercury Outboard 2 Cycle 650 65 Hp 3 Cylinder

  • Mercruiser Thunderbolt Ignition Wiring Diagram

  • Mercury Mariner Outboard Motor Service Manual By Leticia

  • 1974 Mercury 500 50 Hp Wiring

  • Mercruiser 4 3 V6 Wiring Diagram

  • Mercury 2cyl 20 Hp 2 Stroke Wiring Diagram

  • Mercury Outboard Wiring Diagrams

  • 50 Hp Merc Question

  • Mercury Outboard Thunderbolt 650 65 Hp Engine First Run

  • Sorry Sold

  • Mariner 50 Hp 4 Cylinder Exhaust Plate U0026 Shift Linkage Parts

  • Mercury Marine 25 Hp Efi 3 Cylinder 4

  • Mercury 4 6 Engine Diagram

  • Mercury Marine 25 Hp 2 Cylinder Carburetor Assembly Parts

  • V8 Mercruiser Wiring Diagram

  • Wiring Diagram Mercruiser Thunderbolt Iv Ignition 4 3 V6

  • Flywheel Stator And Ignition Coil For Mariner Mercury

  • Mercury Marine 50 Hp Bigfoot 4

  • Mercury Force Outboard Parts By Hp U0026 Serial 50hp Oem Parts

  • Mercury

  • Mercury Marine 4 5 Hp 1 Cylinder Fuel Pump U0026 Fuel Lines

  • Mercury Marine Model 850 85 Hp 4 Cylinder Distributor

  • Mercury Marine 125 Hp 4 Cylinder Bleed System Parts

  • Wiring Diagram Mercruiser Thunderbolt Iv Ignition 4 3 V6

  • Mercury Mercury U0026 Mariner Outboard Parts By Hp U0026 Liter

  • Mercury Mercury U0026 Mariner Outboard Parts By Hp U0026 Liter 2 5

  • Mercury Marine Model 850 85 Hp 4 Cylinder Crankshaft

  • Mercury Marine 50 Hp 4 Cylinder Starter Rewind Parts

  • Mercury Marine 4 5 Hp 1 Cylinder Gear Housing Drive

  • Mercury Marine 60 Hp Efi 4 Cylinder 4

Copyright © 2020 - KOMPETENCJECYFROWE.VILOGDANSK.EU


1937 Comments