Diagram Database

Posted by on 2020-12-30

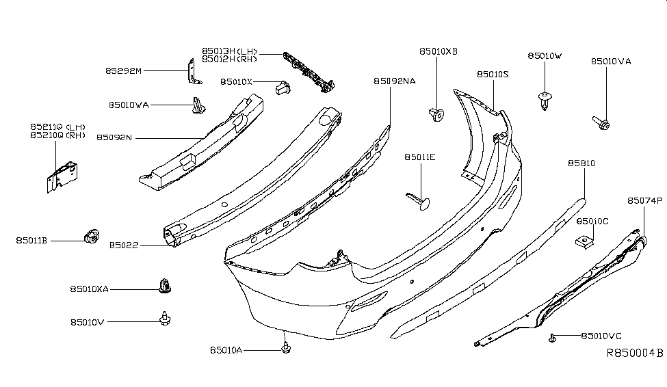
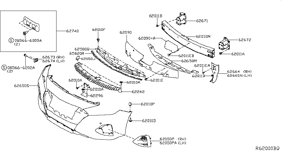
2003 Nissan Pathfinder Front Bumper Diagram

KOMPETENCJECYFROWE.VILOGDANSK.EU

2003 Nissan Pathfinder Front Bumper Diagram

  • Bumper Diagram
  • Date : December 30, 2020
  • Downloaded : 7115 times

2003 Nissan Pathfinder Front Bumper Diagram Whats New

Nissan Pathfinder Front

Downloads 2003 Nissan Pathfinder Front Bumper Diagram nissan pathfinder front axle nissan pathfinder front radar nissan pathfinder front bumper nissan pathfinder front legroom nissan pathfinder front end wobble nissan pathfinder front seat covers nissan pathfinder front wheel drive nissan pathfinder front control arms nissan pathfinder front license mount nissan pathfinder front wheel bearing nissan pathfinder front suspension parts nissan pathfinder front radar obstruction nissan pathfinder front differential noise nissan pathfinder front obstruction sensor nissan pathfinder front seat won't heat nissan pathfinder front license plate bracket

  • I Need A Diagram Of The Front End Of A 1997 Nissan

  • Nissan Pathfinder Bumper Impact Bar Front Upper

  • Nissan Pathfinder Clip Pro

  • 2015 Nissan Pathfinder Front Bumper

  • 62210-3ja0a

  • I Need A Diagram Of The Front End Of A 1997 Nissan

  • 62022

  • Painted Nissan Pathfinder Genuine Factory Oem Front

  • Nissan Pathfinder Parts

  • Nissan Pathfinder Fog Light Trim Front Dealer Option

  • 62022

  • 54050

  • 24033

  • Nissan Pathfinder Bumper Cover Reinforcement Beam Bracket

  • Nissan Oem Pathfinder Front Bumper

  • Nissan Oem 13

  • Nissan Oem 08

  • 62664-4ra0b

  • 2014 Nissan Pathfinder Hybrid Rear Bumper

  • 2008 Nissan Pathfinder Engine Diagram

  • 62221-9hs0a

  • 2012 Nissan Pathfinder Rear Bumper

  • 2013 Nissan Sentra Front Bumper

  • Nissan Pathfinder Bumper Cover Rear

  • 1996 Nissan Pathfinder Rear Bumper

  • 1995 Nissan Pathfinder Rear Bumper

  • Genuine Nissan Pathfinder Passenger Right Front Bumper

  • Nissan Pathfinder Bumper Cover Cap From 12 98 Inner

  • Nissan Pathfinder Bumper Cover Front

  • Nissan Pathfinder Bumper Cover Bracket Right Front

  • Nissan Pathfinder Bracket Bumper Side Right Front Bed

  • Nissan Pathfinder Bumper Cover Stay Right Front Upper

  • Nissan Pathfinder Bracket Bumper Side Right Front Pro

  • Nissan Pathfinder Bumper Impact Bar Front Upper

  • 13

Copyright © 2020 - KOMPETENCJECYFROWE.VILOGDANSK.EU


1937 Comments