Diagram Database

Posted by on 2020-12-29

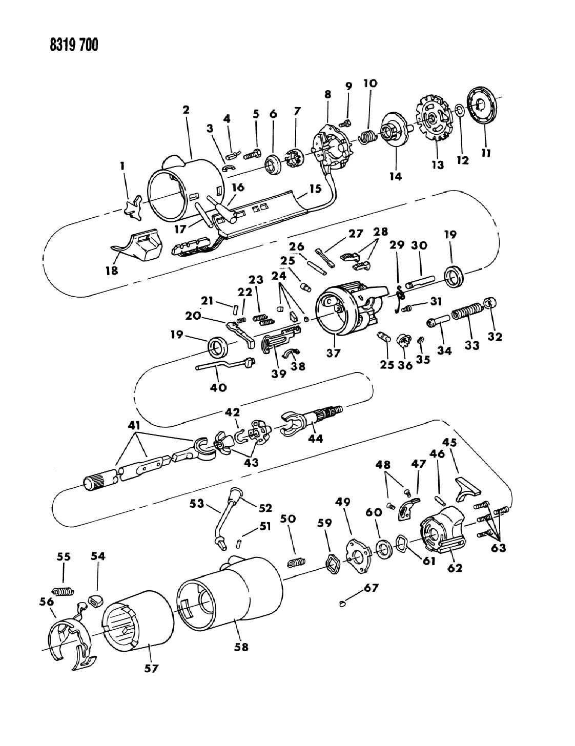
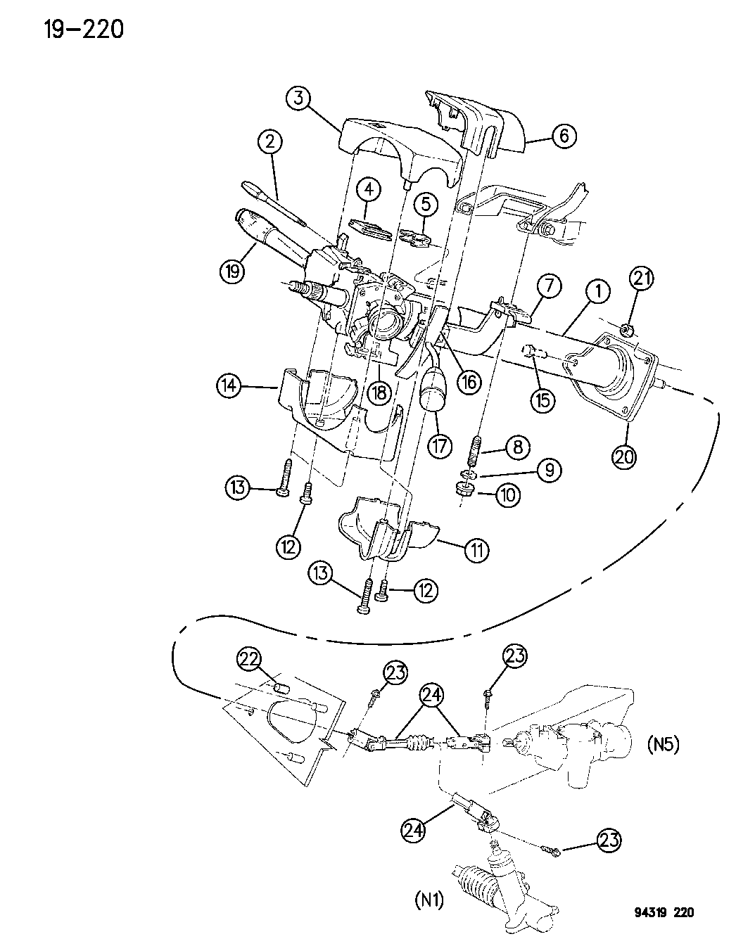
1989 Dodge Dakota Steering Column Diagram

KOMPETENCJECYFROWE.VILOGDANSK.EU

1989 Dodge Dakota Steering Column Diagram

  • Column Diagram
  • Date : December 29, 2020
  • Downloaded : 5940 times

1989 Dodge Dakota Steering Column Diagram Whats New

Dodge Dakota Steering

Downloads 1989 Dodge Dakota Steering Column Diagram dodge dakota steering play dodge dakota steering clunk dodge dakota steering loose dodge dakota steering rack dodge dakota steering shaft dodge dakota steering wheel dodge dakota steering knuckle dodge dakota steering problems dodge dakota steering wheel badge dodge dakota steering wheel cover dodge dakota steering column parts dodge dakota steering wheel removal dodge dakota steering box adjustment dodge dakota steering column diagram dodge dakota steering column removal dodge dakota steering pump replacing dodge dakota steering shaft replacement dodge dakota steering knuckle replacement dodge dakota steering rack for sale

  • Where Can I Get A Diagram Of 1987 Dodge Dakota Steering

  • 55351208ab

  • 1992 Dodge Dakota Column Steering Upper And Lower

  • 2000 Dodge Dakota Shaft Lower Intermediate

  • Dodge Dakota Column Steering Non Tilt

  • 2001 Dodge Dakota Lever Assy Used For With Bracket And

  • 1996 Dodge Dakota Column Steering Upper And Lower

  • Dodge Dakota Steering Shaft 2001

  • 1997 Dodge Dakota Shaft Intermediate Steering Column

  • Dodge Dakota Lower Coupling 1991

  • 1990 Dodge Dakota Column Steering Lower And Attaching Parts

  • Dodge Dakota Steering Column Cover Wtilt Upper Lock

  • Dodge Dakota Steering Shaft Lower Column Assembly

  • 4019787

  • Dodge Dakota Steering Column Cover Tilt Auto Trans

  • 1991 Dodge Dakota Controls Gearshift Steering Column Shift

  • Dodge Dakota Shaft Lower 1987 Tilt Wheel All W

  • Dodge Dakota Column Steering Non Tilt

  • Dodge Chrysler Oem Dakota Steering Column

  • Need Color Coded Wiring Diagram For 1999 Dakota W Tilt

  • 1997 Dodge Dakota Codes Bad Tps Not The Problem Dealer

  • Need Color Coded Wiring Diagram For 1999 Dakota W Tilt

  • I Need Wiring Diagram For Headlight Wirring Connection In

  • Dodge Dakota Wiring Steering Wheel Jumper Trim All

  • I Am Looking For Some Diagrams Or Pictures Showing Me Step

  • Need Color Coded Wiring Diagram For 1999 Dakota W Tilt

  • Need Color Coded Wiring Diagram For 1999 Dakota W Tilt

  • Technical Car Experts Answers Everything You Need 1992

  • 1988 Dodge Dakota Bearing Bearing Column Shaft Bearing

Copyright © 2020 - KOMPETENCJECYFROWE.VILOGDANSK.EU


1937 Comments