Diagram Database

Posted by on 2020-12-30

1989 Chrysler Lebaron Power Steering Diagram Wiring

KOMPETENCJECYFROWE.VILOGDANSK.EU

1989 Chrysler Lebaron Power Steering Diagram Wiring

  • Diagram Wiring
  • Date : December 30, 2020
  • Downloaded : 7144 times

1989 Chrysler Lebaron Power Steering Diagram Wiring Whats New

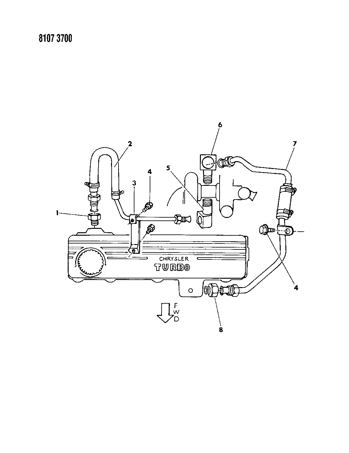
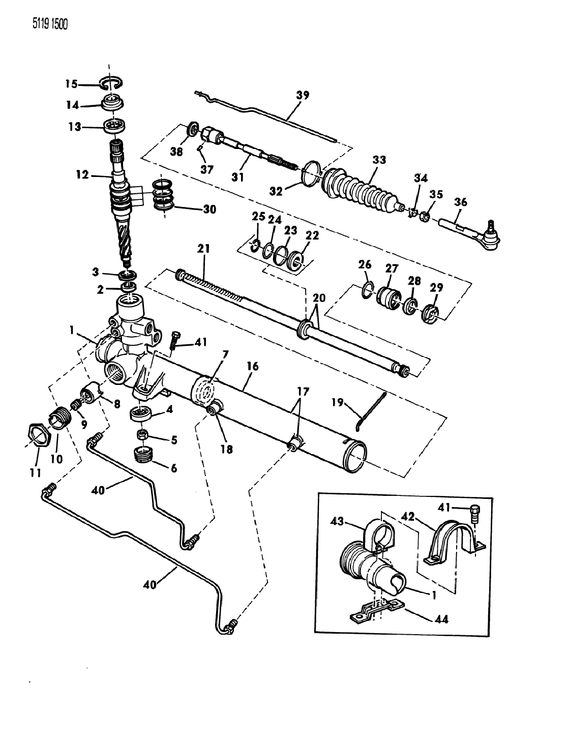
Chrysler Lebaron Power Steering

Downloads 1989 Chrysler Lebaron Power Steering Diagram Wiring

  • 1989 Chrysler Lebaron Power Steering Diagram Wiring

  • 1989 Chrysler Lebaron Gtc Wiring - Engine

  • 1994 Chrysler Lebaron Wiring Diagram

  • 94 Chrysler Lebaron Wiring Diagram

  • 1984 Chrysler Lebaron Wiring - Engine

  • 2265656

  • 1995 Chrysler Lebaron Wiring

  • Chrysler Lebaron Wiring Diagram

  • 94 Chrysler Lebaron Wiring Diagram

  • 3815872

  • 1986 Chrysler Lebaron Gts Column Steering Lower With Or

  • Chrysler Lebaron Power Seat Wiring

  • Chrysler Lebaron Power Seat Wiring

  • Chrysler Lebaron Power Seat Wiring

  • Chrysler Lebaron Power Seat Wiring

  • 1990 Dodge D250 Wiring Diagram

  • 1994 Chrysler Lebaron Wiring Diagram

  • Chrysler Lebaron Power Seat Wiring

  • Chrysler Lebaron Wiring Diagram

  • 94 Chrysler Lebaron Wiring Diagram

  • 1991 Chrysler Lebaron Wiring Diagram

  • Chrysler Lebaron Power Seat Wiring

  • 94 Chrysler Lebaron Wiring Diagram

  • 1990 Chrysler Lebaron Wiring Diagram Schematic

  • Chrysler U2013 Page 5 U2013 Circuit Wiring Diagrams

  • 1994 Chrysler Lebaron Radio Wiring Diagram

  • Chrysler Lebaron Power Seat Wiring

  • Chrysler Lebaron Power Steering Pressure Hose

  • Chrysler Lebaron Power Seat Wiring

  • Chrysler Lebaron Wiring Diagram

  • 1992 Chrysler Lebaron Sedan Wiring - Engine

  • 2000 Dodge Intrepid Fuel Filter

  • Chrysler Le Baron Questions

  • Chrysler Lebaron Power Seat Wiring

  • Chrysler Lebaron Power Seat Wiring

  • 1990 Chrysler Lebaron 3 0 How To Replace A Power Steering

  • Chrysler Lebaron Power Seat Wiring

  • 94 Chrysler Lebaron Wiring Diagram

  • Chrysler Lebaron Power Seat Wiring

  • Chrysler Lebaron Wiring Diagram

  • Chrysler Lebaron Power Seat Wiring

  • 94 Chrysler Lebaron Wiring Diagram

  • 1993 Chrysler Lebaron Convert Fuse Box Diagram U2013 Circuit

  • 94 Chrysler Lebaron Wiring Diagram

  • Chrysler Lebaron Power Seat Wiring

  • 1995 Chrysler Lebaron Wiring Diagram

  • Chrysler Lebaron Power Seat Wiring

  • Chrysler Lebaron Power Seat Wiring

  • Chrysler Alarm Wiring Diagram

  • 1994 Chrysler Lebaron Gtc 3 0 Just Shut Down While Driving

  • I Have A 1993 Chrysler Lebaron Landau The Serpintine Belt

  • 1994 Chrysler Lebaron Radio Wiring Diagram

  • 1984 Chrysler Lebaron Lamps U0026 Wiring - Rear

  • 1991 Chrysler Imperial Wiring Diagram

  • Chrysler Lebaron Power Seat Wiring

Copyright © 2020 - KOMPETENCJECYFROWE.VILOGDANSK.EU


1937 Comments